Doručujeme do více než 25 zemí
info@sgarden.cz
Zaměřujeme se zvláště na náhradní díly, stačí kliknout
Přihlášení
/
Registrace
Přihlaste se
E-mail:
Heslo:
Zůstat přihlášen
Přihlásit se
Zapomenuté heslo?
Jsem tu nový:
registrovat
/
Odhlášení
CZ
€
CS
EN
€
Kč
Váš
KOŠÍK
čeká na naplnění
ks
Vysypat košík
Objednat
Opravdu
chcete
aby zůstal prázdný?
Ano, vysypat
Nechci
,
,
Náhradní díly
vše pro vaše stroje
Náhradní díly
>
STIGA
>
Sněhové frézy
>
ST 1333 EW ST 1333 EW (2000)
>
Řemenový převod
zpět na
ST 1333 EW
ST 1333 EW (2000)
Řemenový převod
ST 1333 EW
ST 1333 EW (2000)
Najeďte myší na rozkres
kolečko:
přiblížení, levé tlačítko:
pohyb
Další díly
pro
ST 1333 EW (2000)
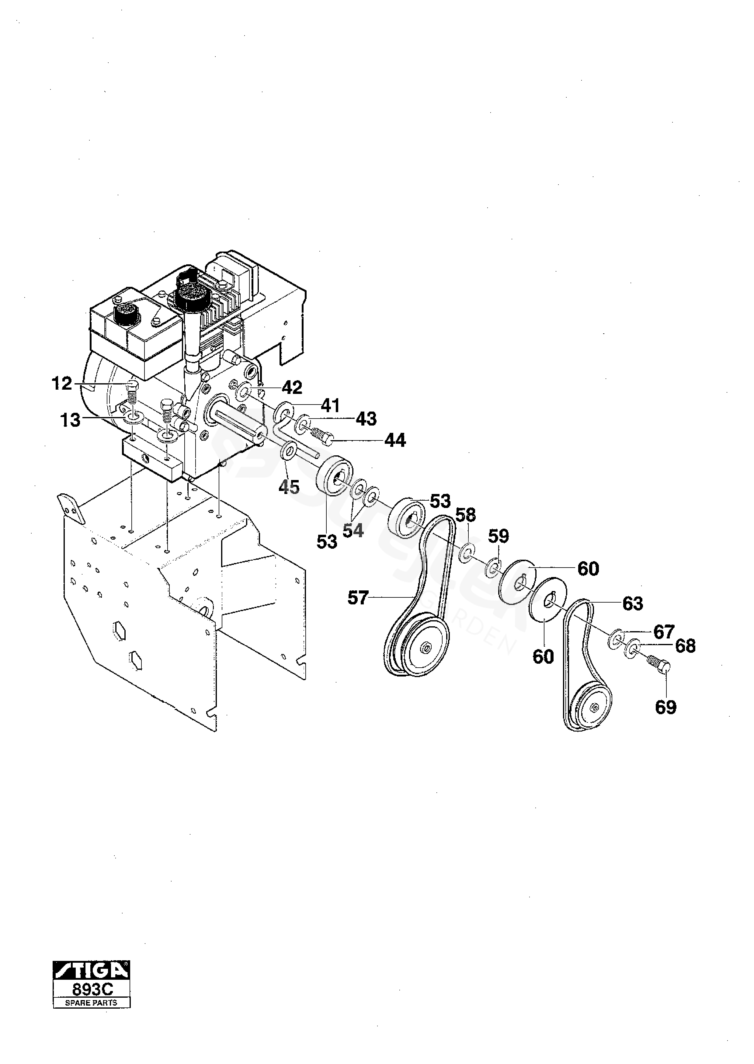
12
ŠROUB
9988-3638-12
13
PODLOŽKA
9683-0030-02
41
VODÍTKO ŘEMENU
1812-0533-01
42
PODLOŽKA
1812-0667-01
44
ŠROUB
9987-5125-16
45
ROZPĚRKA
1812-1566-01
53
TRACTION PULLEY
1812-1201-01
54
ROZPĚRKA
1812-1206-01
57
Pohon Řemen
1812-9024-01
58
PODLOŽKA
1812-0407-01
59
ROZPĚRKA
1812-1350-01
60
ENGINE PULLEY
1812-1351-01
63
Pohon Řemen
1812-9023-01
67
PODLOŽKA
1812-0283-01
68
PODLOŽKA
9683-0035-02
69
ŠROUB
1133-0762-01