Doručujeme do více než 25 zemí
info@sgarden.cz
Zaměřujeme se zvláště na náhradní díly, stačí kliknout
Přihlášení
/
Registrace
Přihlaste se
E-mail:
Heslo:
Zůstat přihlášen
Přihlásit se
Zapomenuté heslo?
Jsem tu nový:
registrovat
/
Odhlášení
CZ
€
CS
EN
€
Kč
Váš
KOŠÍK
čeká na naplnění
ks
Vysypat košík
Objednat
Opravdu
chcete
aby zůstal prázdný?
Ano, vysypat
Nechci
,
,
Náhradní díly
vše pro vaše stroje
Náhradní díly
>
Husqvarna
>
Motory
>
Yamaha Engine MX825 VJ Yamaha Engine MX825 VJ
>
CAMSHAFT & VALVE
zpět na
Yamaha Engine MX825 VJ
Yamaha Engine MX825 VJ
CAMSHAFT & VALVE
Yamaha Engine MX825 VJ
Yamaha Engine MX825 VJ (548448112 - )
Najeďte myší na rozkres
kolečko:
přiblížení, levé tlačítko:
pohyb
Další díly
pro
Yamaha Engine MX825 VJ
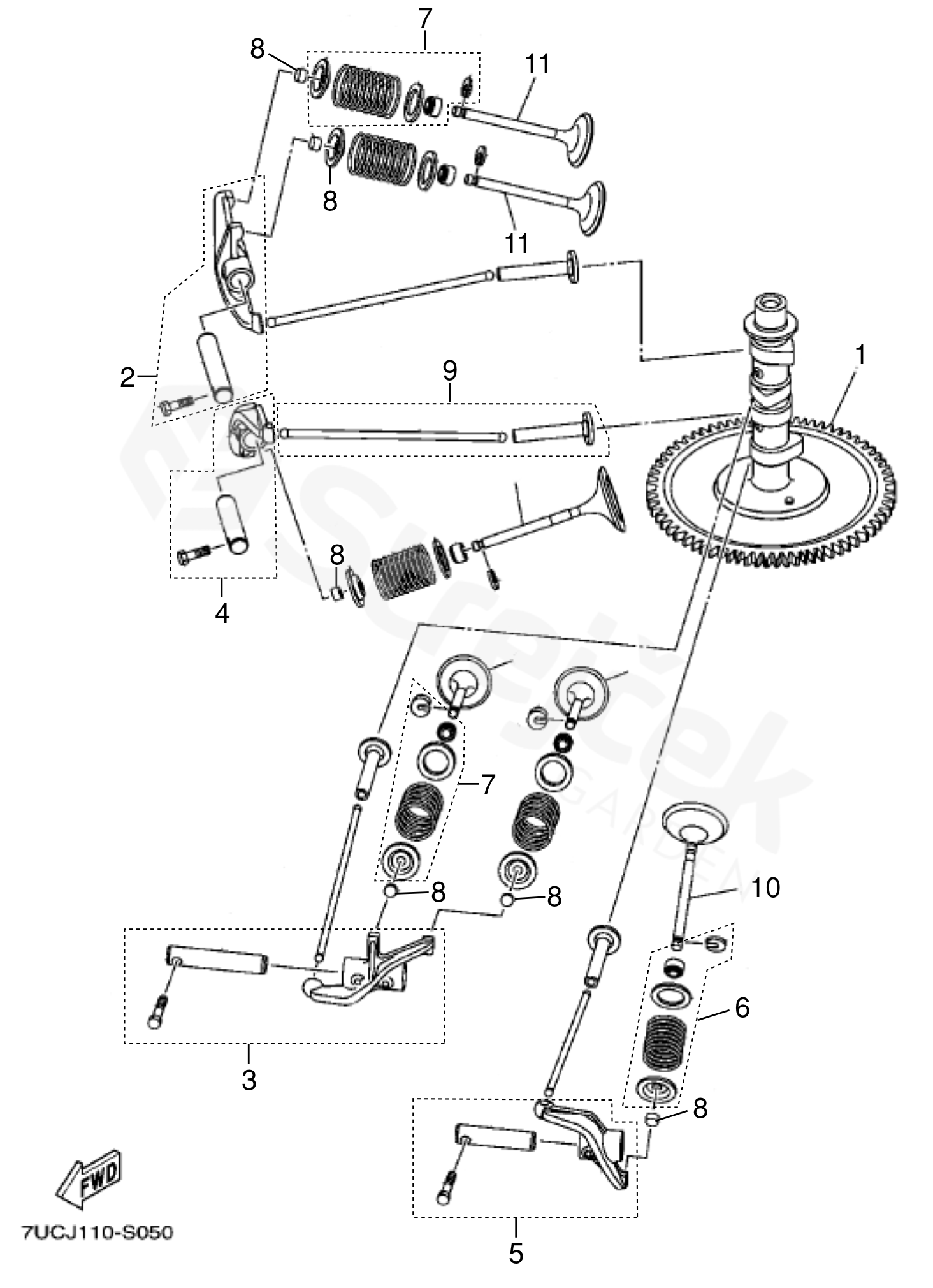
1
VYČKOVÝ HŘÍDEL
596850901
2
VAHADLO
596889801
3
VAHADLO
596889901
4
VAHADLO
596890001
5
VAHADLO
596890101
6
SEDLO VENTILU
596891501
7
SEDLO VENTILU
2 pcs in package
596893201
8
PODLOŽKA
596893301
9
SADA VENTILŮ
4 pcs in package
596894601
10
VENTIL
596849401
11
VENTIL
596849501