CZ
Váš KOŠÍK
čeká na naplnění

ks
Vysypat košík Objednat
Opravdu
chcete
aby zůstal prázdný?
Ano, vysypat Nechci
Náhradní díly
vše pro vaše stroje
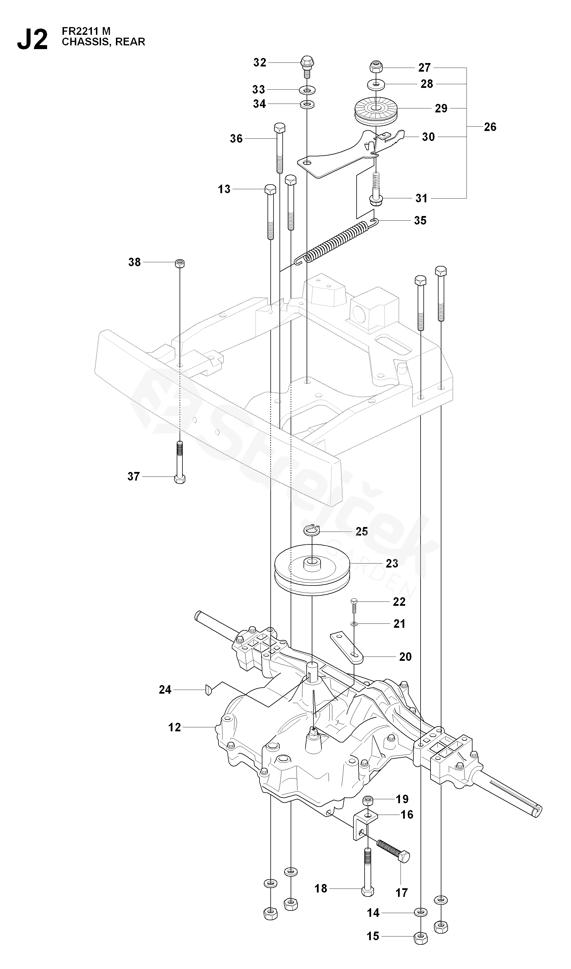
KLIKOVÁ SKŘÍŇ & PŘÍSLUŠNÉ SOUČÁSTI
FR2211 M FR2211 M, 965190201, 2009-04
Najeďte myší na rozkres
kolečko: přiblížení, levé tlačítko: pohyb
Další díly pro FR2211 M, 965190201, 2009-04
12 GEAR CASE MST 205 506955501
13 ŠROUB EHHM 725246751
14 PODLOŽKA 734116401
15 ŠESTIHRANNÁ MATICE 731231801
16 DRŽÁK 506575101
17 ŠROUB EHHFT 506558302
18 ŠROUB 725245551
19 ŠESTIHRANNÁ MATICE 731231801
20 VÄXELARM 506904501
21 PODLOŽKA 734115601
22 U6S-UNF1/4"X28 L=16 506557801
23 ŘEMENICE 502234401
24 WOODRŮFFUV KLÍN 506509401
25 POJISTNÝ KROUŽEK 735311800
26 NAPÍNÁK ŘEMENU KOMPL. 506989501
27 LOCK NUT 732211801
28 PODLOŽKA 734116441
29 BELT TENS WHEEL ASSY 506793401
30 NAPÍNÁK ŘEMENU 506989601
31 ŠROUB 725245551
32 ŠROUB EHHFM 506597401
33 PRUŽNÁ PODLOŽKA 506839401
34 PODLOŽKA 734117801
35 PRUŽINA 506988601
36 ŠROUB EHHM 725246451
37 ŠROUB 725245551
38 ŠESTIHRANNÁ MATICE 731231801