We deliver to more than 25 countries
info@sgarden.cz
We focus especially on spare parts, just click!
Log in
/
Registration
Sign In
E-mail:
Password:
Stay logged in
Log in
Forgot your password?
I'm new here:
register
/
Log off
EN
€
CS
EN
€
Kč
Your
CART
Awaiting fulfillment
ks
Empty cart
Order
Are you
sure
to empty your cart?
Yes, empty
I don't want to
,
,
Spare parts
Everything for your machines
Spare parts
>
STIGA
>
Front Mowers
>
PRIMO PRIMO (2009) [13-2411-12]
>
Transmission
Back to
PRIMO
PRIMO (2009) [13-2411-12]
Transmission
PRIMO
PRIMO (2009) [13-2411-12]
Hover mouse on parts list
Wheel:
Zoom, left button:
Movement
Other parts
For
PRIMO (2009) [13-2411-12]
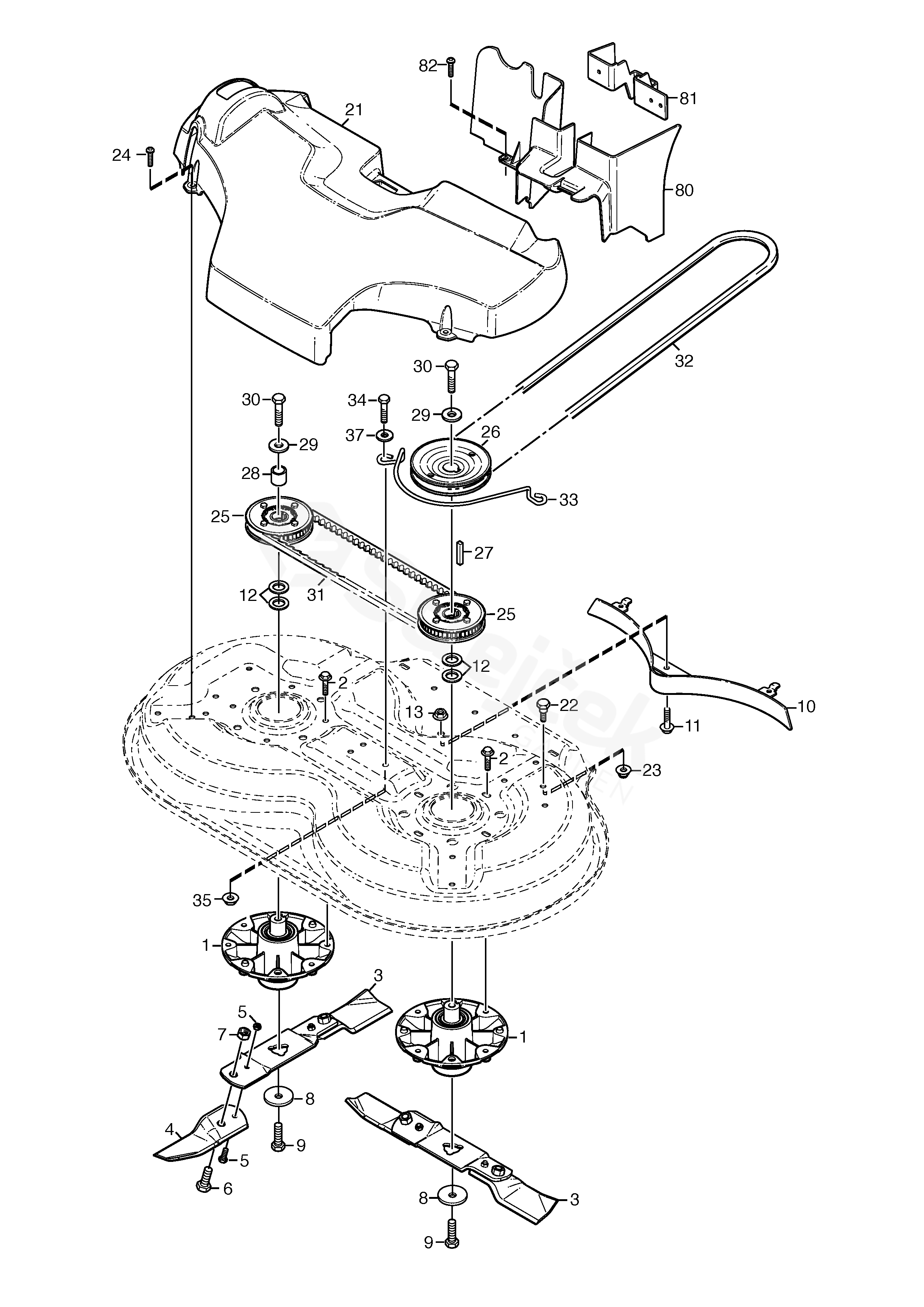
1
Bearing Box Assy
1134-6613-01
2
Screw
9945-0825-16
3
Blade Bar Ass.Y
Sats 2 st/kit of 2
1134-9129-01
4
Blade kit
1134-9130-01
5
Shear Bolt Kit
1134-9054-01
6
Bolt
1134-6311-01
7
Nut
1134-6312-01
8
Washer
1134-6211-01
9
Screw
9997-1050-12
10
Mulch Plug
1134-6590-01
11
Screw
9959-0820-16
12
Washer
1134-0341-01
13
Nut
9739-0831-22
21
Transm.Cover-Black
1134-6713-03
22
Screw
1134-0240-00
23
Nut
9739-0831-22
24
Screw
9893-0616-16
25
Toothed Belt Pulley
Sats 2 st/kit of 2
1134-9137-01
26
Belt Pulley
1134-6607-01
27
Key
9600-0168-01
28
Spacer
1134-5124-02
29
Washer
1134-5406-01
30
Screw
9997-0850-16
31
Toothed Belt
= 9585-0173-01
1134-9133-01
32
V-Belt
= 9585-0176-01
1134-9136-01
33
Belt Guide
1134-7017-01
34
Screw
9959-0820-16
35
Nut
9739-0831-22
37
Washer
9699-0056-02