EN
Your CART
Awaiting fulfillment

ks
Empty cart Order
Are you
sure
to empty your cart?
Yes, empty I don't want to
Spare parts
Everything for your machines
Transmission
PARK COMPACT 14 PARK COMPACT 14 (2013)
Hover mouse on parts list
Wheel: Zoom, left button: Movement
Other parts For PARK COMPACT 14 (2013)
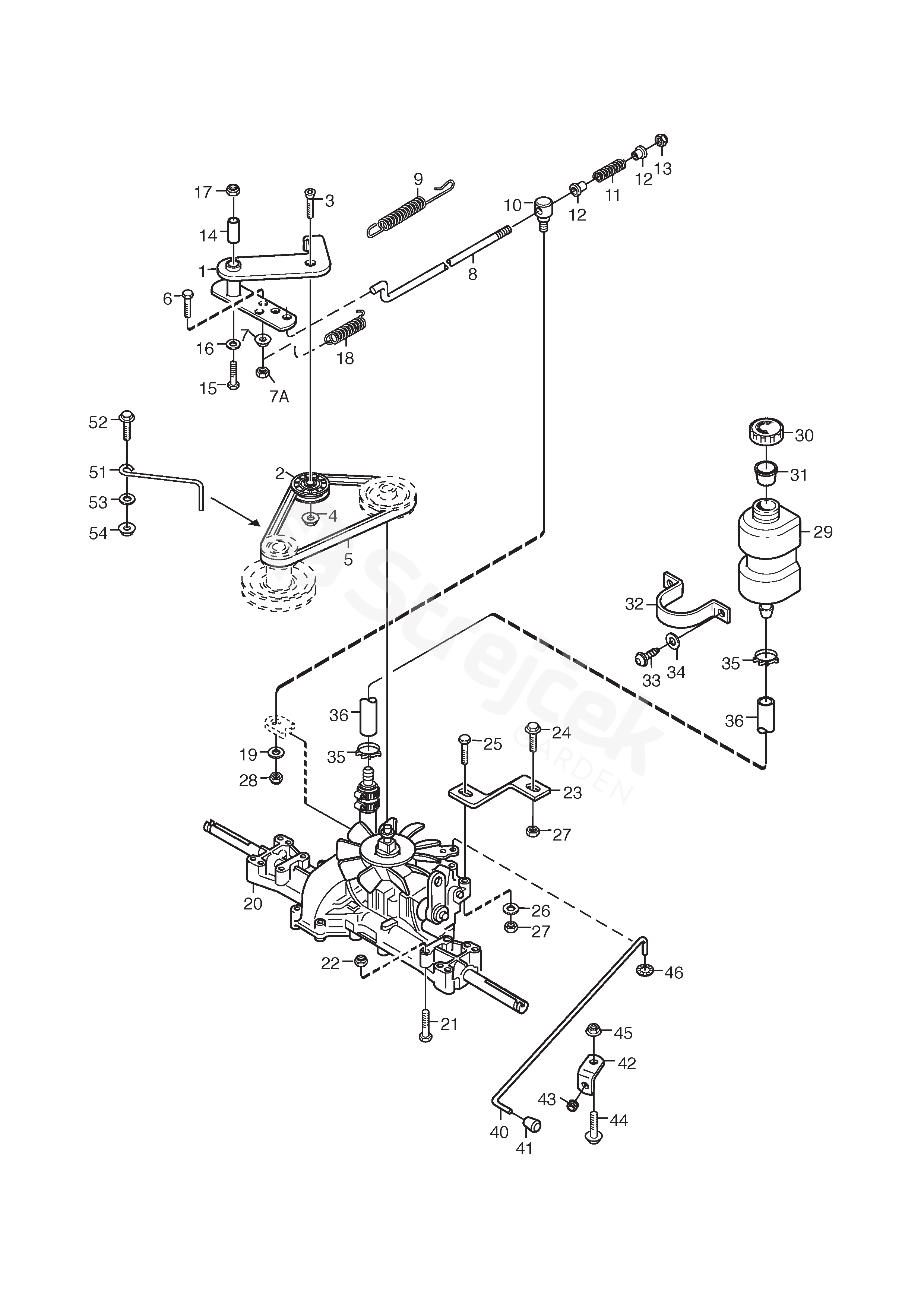
1 Tension Arm 1134-4000-02
2 Tension Roller 1134-3459-01
3 Screw 9924-1035-16
4 Nut 9799-1031-02
5 Drive Belt
Replaced by Service Code: 1134-9058-01
9585-0091-01
6 Screw 9997-0625-16
7 Nut 9739-0631-22
8 Control Rod 1134-3377-02
9 Spring 4231-0013-00
10 Pivot Pin 1134-4171-01
11 Spring 1134-4183-01
12 Bushing 1134-3456-01
13 Lock Nut 9747-0631-02
14 Spacer 1134-1565-08
15 Screw 9997-0870-16
16 Washer 9699-0056-02
17 Nut 9747-0831-02
18 Spring 1134-6414-01
19 Washer 9699-0060-02
20 Transaxle (K46)
Kanzaki K46G
1134-4848-01
21 Screw 9960-0860-12
23 Strut 1134-3913-01
24 Screw 9959-0825-16
25 Screw 9997-0845-12
26 Washer 9699-0028-02
29 Oil Tank 1134-2765-02
30 Filler Cap 1134-2777-02
31 Vent Plug 1134-3734-01
32 Band 1134-2778-01
33 Screw 9852-8013-16
34 Washer 9699-0099-02
35 Hose clamp 9578-0023-04
36 Tube
L = 140 mm
1134-2779-07
40 Pull Rod 1134-4015-01
41 Knob 1134-4014-01
42 Angle Bracket 1134-4713-01
43 Cable Protection 1134-2790-01
44 Screw 9959-0816-16
45 Nut 9739-0831-22
46 Starlock 9675-0009-02
51 Belt Guide 1134-3289-02