We deliver to more than 25 countries
info@sgarden.cz
We focus especially on spare parts, just click!
Log in
/
Registration
Sign In
E-mail:
Password:
Stay logged in
Log in
Forgot your password?
I'm new here:
register
/
Log off
EN
€
CS
EN
€
Kč
Your
CART
Awaiting fulfillment
ks
Empty cart
Order
Are you
sure
to empty your cart?
Yes, empty
I don't want to
,
,
Spare parts
Everything for your machines
Spare parts
>
STIGA
>
Front Mowers
>
PARK PRO DIESEL PARK PRO DIESEL (2002)
>
PTO
Back to
PARK PRO DIESEL
PARK PRO DIESEL (2002)
PTO
PARK PRO DIESEL
PARK PRO DIESEL (2002)
Hover mouse on parts list
Wheel:
Zoom, left button:
Movement
Other parts
For
PARK PRO DIESEL (2002)
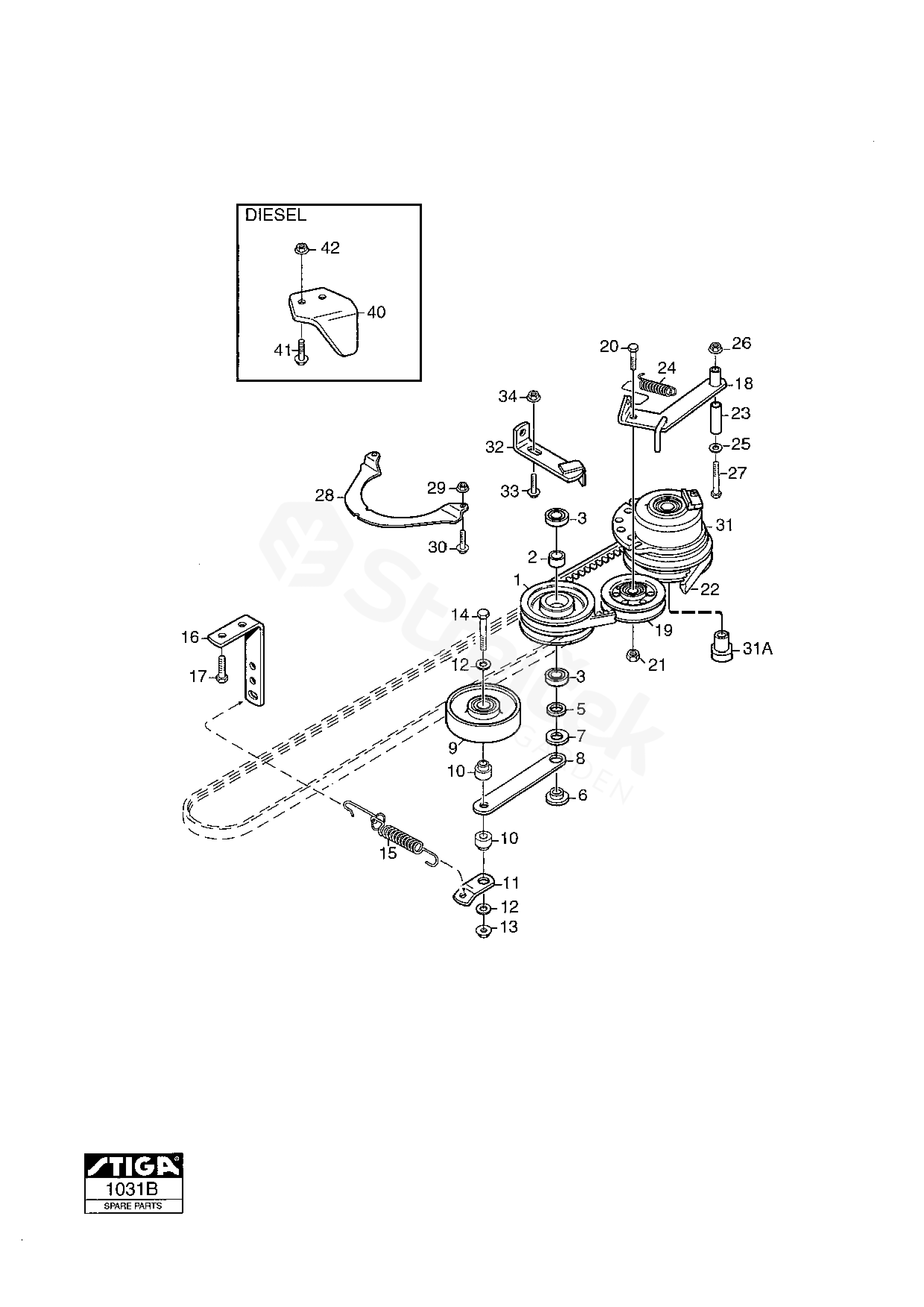
1
Belt Pulley
1134-1769-02
2
Spacer
1134-0051-09
3
Ball Bearing
9549-0019-00
5
Spacer
1134-0052-00
6
Washer
1134-0222-00
7
Washer
9699-0109-02
8
Tensioning Wheel Arm
1134-1730-01
9
Tension Roller
1134-1770-01
10
Spacer
1134-1888-01
11
Spring
1134-1893-01
12
Washer
9699-0062-02
13
Nut
9739-0831-22
14
Screw
9997-0865-12
15
Spring
1134-1322-02
16
Spring
1134-3959-01
17
Screw
9945-0816-16
18
Tensioning arm
1134-3658-01
19
Tension Wheel
1134-3663-01
20
Screw
9997-1040-12
21
Nut
9739-1031-22
22
V-Belt
9497
1134-9047-01
23
Spacer
1134-1565-01
24
Spring
1134-3379-01
25
Washer
9699-0056-02
27
Screw
9997-0850-16
28
Guard
1134-3654-01
29
Nut
9739-0631-22
30
Screw
9959-0612-16
31
Electric Pto-Clutch
1134-3638-01
40
Strut
1134-4924-01
41
Screw
9997-1050-16
31A
Bushing
1134-5016-01