We deliver to more than 25 countries
info@sgarden.cz
We focus especially on spare parts, just click!
Log in
/
Registration
Sign In
E-mail:
Password:
Stay logged in
Log in
Forgot your password?
I'm new here:
register
/
Log off
EN
€
CS
EN
€
Kč
Your
CART
Awaiting fulfillment
ks
Empty cart
Order
Are you
sure
to empty your cart?
Yes, empty
I don't want to
,
,
Spare parts
Everything for your machines
Spare parts
>
STIGA
>
Front Mowers
>
DECK VILLA 95 COMBI EL DECK VILLA 95 COMBI EL (2011)
>
Transmission
Back to
DECK VILLA 95 COMBI EL
DECK VILLA 95 COMBI EL (2011)
Transmission
DECK VILLA 95 COMBI EL
DECK VILLA 95 COMBI EL (2011)
Hover mouse on parts list
Wheel:
Zoom, left button:
Movement
Other parts
For
DECK VILLA 95 COMBI EL (2011)
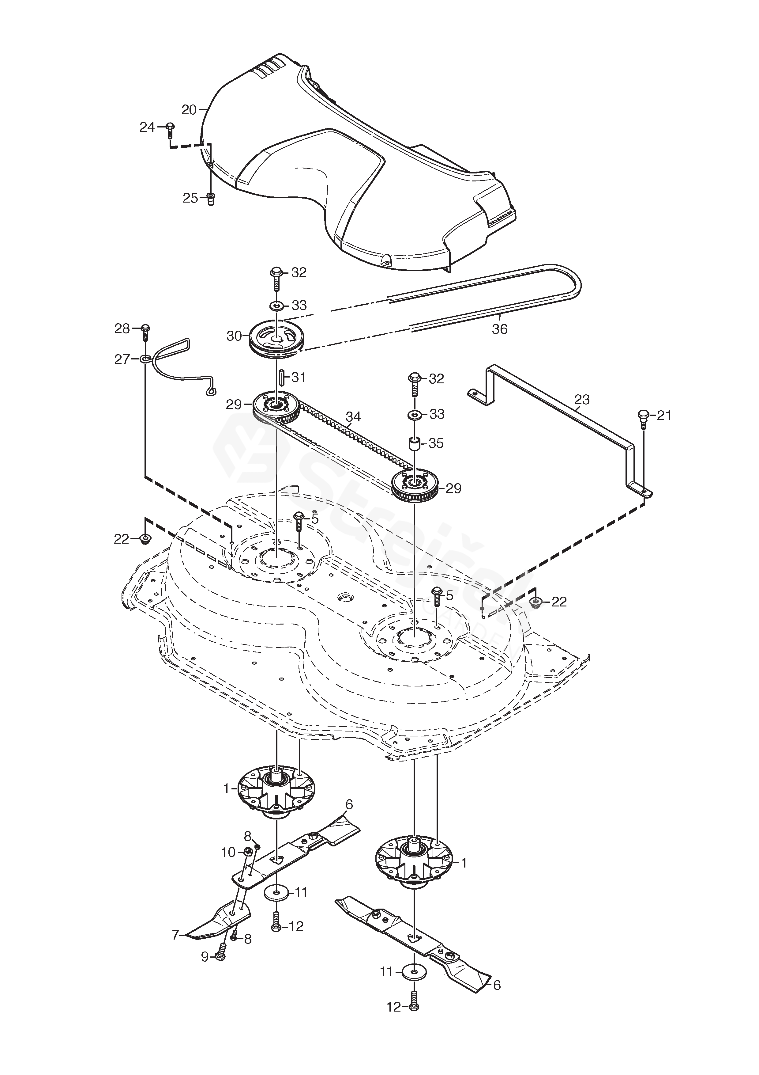
1
Bearing Box Assy
1134-5831-01
6
Blade Bar Assy (95C)
Sats 2 st/kit of 2
1134-9117-01
7
Blade Kit Assy
2 knivar/2 blade tips
1134-9119-01
8
Shear Bolt Kit
1134-9054-01
9
Bolt
7/16" UNF
1134-6311-01
10
Nut
7/16" UNF
1134-6312-01
11
Washer
1134-6211-01
12
Screw
9997-1060-12
20
Transmission Cover-Grey
1134-6280-01
21
Shoulder screw
1134-0240-01
22
Nut
9739-0831-22
23
Support
1134-6423-01
24
Screw
9945-0825-16
25
Nut
1134-5595-01
27
Belt Guide
1134-6429-01
28
Screw
9959-0820-16
29
Toothed Belt Pulley
Sats 2 st/kit of 2
1134-9127-01
30
Belt Pulley
Ø = 161 mm
1134-6202-01
31
Key
9600-0168-01
33
Washer
1134-5406-01
34
Toothed Belt
9585-0162-01
35
Spacer
1134-5400-04
36
Drive Belt
Replaced by Service Code: 1134-9068-01
9585-0127-01