We deliver to more than 25 countries
info@sgarden.cz
We focus especially on spare parts, just click!
Log in
/
Registration
Sign In
E-mail:
Password:
Stay logged in
Log in
Forgot your password?
I'm new here:
register
/
Log off
EN
€
CS
EN
€
Kč
Your
CART
Awaiting fulfillment
ks
Empty cart
Order
Are you
sure
to empty your cart?
Yes, empty
I don't want to
,
,
Spare parts
Everything for your machines
Spare parts
>
Castelgarden
>
Front mowers
>
Deck 95 Combi for XM Deck 95 Combi for XM (2015)
>
Transmission and Blades
Back to
Deck 95 Combi for XM
Deck 95 Combi for XM (2015)
Transmission and Blades
Deck 95 Combi for XM
Deck 95 Combi for XM (2015)
Hover mouse on parts list
Wheel:
Zoom, left button:
Movement
Other parts
For
Deck 95 Combi for XM (2015)
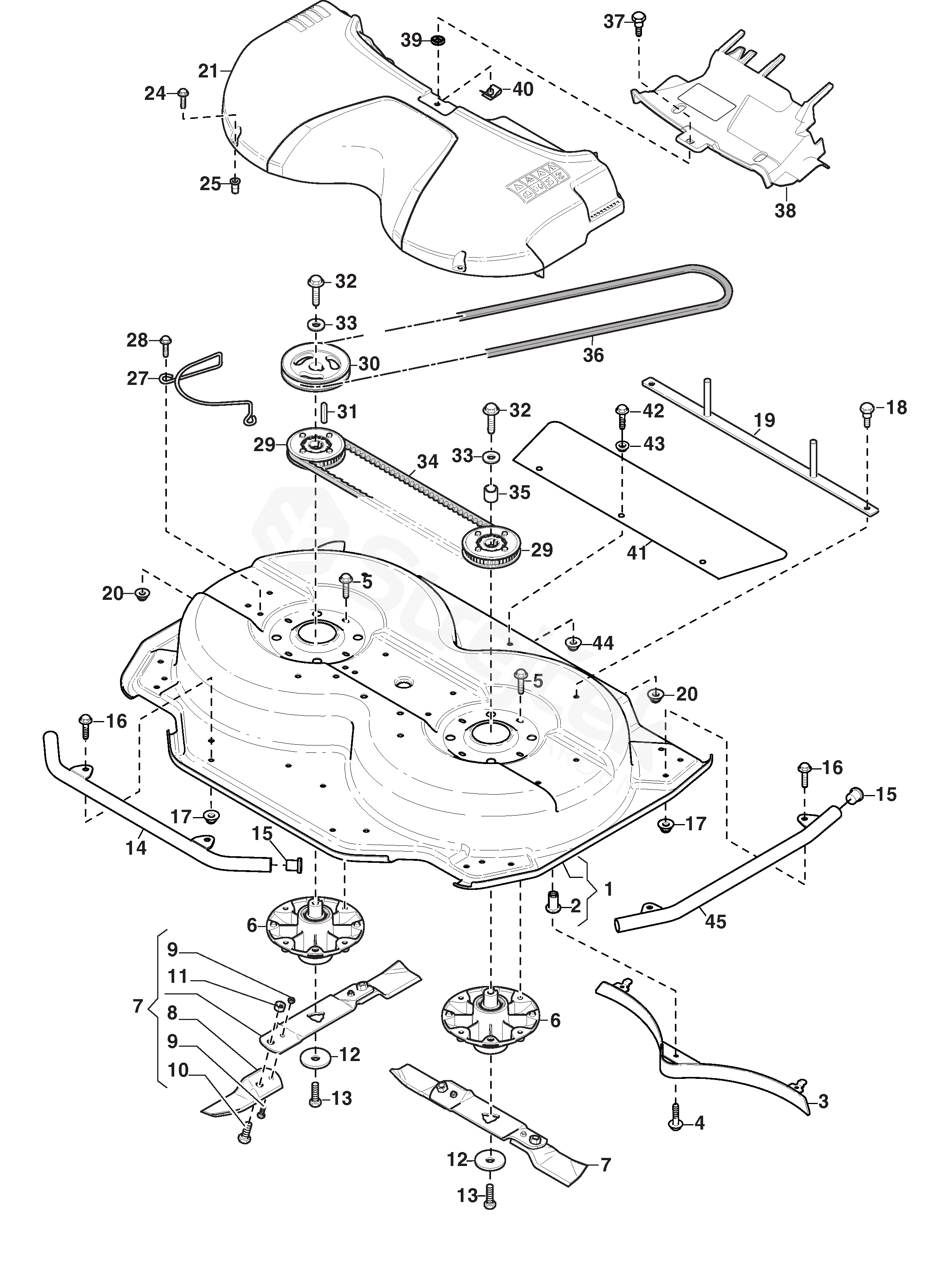
1
Casing-Red 95C
1134-6190-03
2
Nut
1134-5595-01
3
Mulch Plug 95C
1134-6229-01
6
Bearing Box Assy
1134-5831-01
7
Blade Bar Assy (95C)
Sats 2 st/kit of 2
1134-9117-01
8
Blade Kit Assy
2 knivar/2 blade tips
1134-9119-01
9
Shear Bolt Kit
1134-9054-01
10
Bolt
7/16” UNF
1134-6311-01
11
Nut
7/16” UNF
1134-6312-01
12
Washer
1134-6211-01
13
Screw
112692395/1
14
Front Guard Tube-Black
1134-6208-02
15
End Plug, Black
9403-0025-70
16
Screw
112800815/0
17
Nut
112154220/0
18
Shoulder screw
1134-0240-01
19
Bracket
1137-1082-01
21
Transmission Cover-Grey
1134-6280-06
24
Screw
9945-0825-16
27
Belt Guide
1134-6429-01
28
Screw
9959-0820-16
29
Toothed Belt Pulley
Sats 2 st/kit of 2
1134-9127-01
30
Pulley
Ø = 161 mm
1137-0011-01
31
Key
9600-0168-01
33
Washer
1134-5406-01
34
Toothed Belt
9585-0162-01
35
Spacer
1134-5400-04
36
V-Belt
9585-0127-01
1134-9068-01
37
Screw
1134-0240-00
38
Belt cover
337600003/0
39
Starlock
9675-0016-02
40
Nut
1134-4620-02
41
Rubber Guard
1134-6281-02
43
Flange Washer
1134-4185-01
45
Side Guard Tube-Black 95C
1134-6222-02