We deliver to more than 25 countries
info@sgarden.cz
We focus especially on spare parts, just click!
Log in
/
Registration
Sign In
E-mail:
Password:
Stay logged in
Log in
Forgot your password?
I'm new here:
register
/
Log off
EN
€
CS
EN
€
Kč
Your
CART
Awaiting fulfillment
ks
Empty cart
Order
Are you
sure
to empty your cart?
Yes, empty
I don't want to
,
,
Spare parts
Everything for your machines
Spare parts
>
Husqvarna
>
TRACTORS/RIDE MOWERS
>
YTH180 YTH180 TWIN, 96041002501, 2013-12
>
MOWER DECK / CUTTING DECK
Back to
YTH180
YTH180 TWIN, 96041002501, 2013-12
MOWER DECK / CUTTING DECK
YTH180
YTH180 TWIN, 96041002501, 2013-12
Hover mouse on parts list
Wheel:
Zoom, left button:
Movement
Other parts
For
YTH180 TWIN, 96041002501, 2013-12
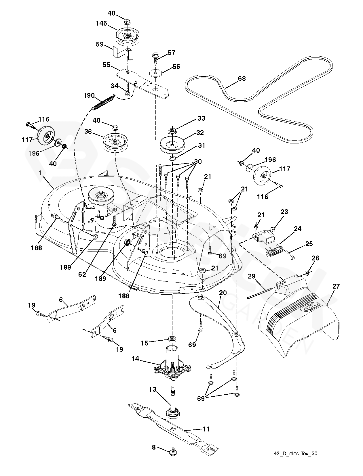
1
HOUSING
532196495
6
ARM
532195186
8
SCREW
532193003
11
BLADE
532138971
13
SHAFT ASSY
532192872
14
BEARING HOUSING
532187281
15
BEARING
532110485
19
BOLT
532196539
20
KOLEJNICE
532159770
21
MATICE
873680500
23
HINGE
532192557
24
HUB CAP
532105304
25
TORSION SPRING
532197026
26
MATICE
532110452
27
KRYT
532403004
29
HRÍDEL
532131491
30
SCREW
532173984
31
PODLOŽKA
532187690
32
PULLEY
532153535
33
MATICE
532400234
34
BOLT
872110612
36
PULLEY
532197379
40
MATICE
873900600
55
ARM
532437110
56
ROZPĚRKA
532199092
57
SCREW
817000616
59
GUARD
532141043
62
BOLT
872110616
68
BELT
532144959
69
BOLT
872140505
116
BOLT
532124842
117
KOLO
532188606
145
PULLEY
532193197
188
ŠROUB
532195161
189
MATICE
873900500
190
PRUŽINA
532197251
196
PODLOŽKA
819121414
CUTTING DECK
532199750