We deliver to more than 25 countries
info@sgarden.cz
We focus especially on spare parts, just click!
Log in
/
Registration
Sign In
E-mail:
Password:
Stay logged in
Log in
Forgot your password?
I'm new here:
register
/
Log off
EN
€
CS
EN
€
Kč
Your
CART
Awaiting fulfillment
ks
Empty cart
Order
Are you
sure
to empty your cart?
Yes, empty
I don't want to
,
,
Spare parts
Everything for your machines
Spare parts
>
Husqvarna
>
TRACTORS/RIDE MOWERS
>
LT151 LT151, 96041001804, 2009-01
>
DECALS
Back to
LT151
LT151, 96041001804, 2009-01
DECALS
LT151
LT151, 96041001804, 2009-01
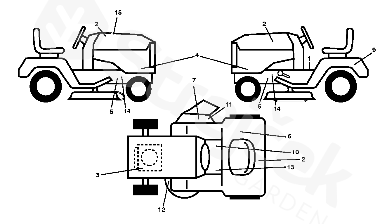
Hover mouse on parts list
Wheel:
Zoom, left button:
Movement
Other parts
For
LT151, 96041001804, 2009-01
1
LABEL
532400389
2
DECAL
532422012
3
DECAL
532196841
4
LABEL
532408596
5
DECAL
532159736
6
DECAL
532180432
7
DECAL
532182166
9
DECAL
532145005
10
DECAL
532140837
11
DECALC."DANGER DEFLECTEUR"
532196357
12
DECALC.SCHEMA MONTAGE
532194302
13
DECAL
532159737
14
DECAL
532401146
15
DECAL
532413001
OPERATOR´S MANUAL
532407808