We deliver to more than 25 countries
info@sgarden.cz
We focus especially on spare parts, just click!
Log in
/
Registration
Sign In
E-mail:
Password:
Stay logged in
Log in
Forgot your password?
I'm new here:
register
/
Log off
EN
€
CS
EN
€
Kč
Your
CART
Awaiting fulfillment
ks
Empty cart
Order
Are you
sure
to empty your cart?
Yes, empty
I don't want to
,
,
Spare parts
Everything for your machines
Spare parts
>
Husqvarna
>
TRIMMERS/EDGERS
>
21 LCN 21 LCN, 1994-12
>
ENGINE
Back to
21 LCN
21 LCN, 1994-12
ENGINE
21 LCN
21 LCN, 1994-12
Hover mouse on parts list
Wheel:
Zoom, left button:
Movement
Other parts
For
21 LCN, 1994-12
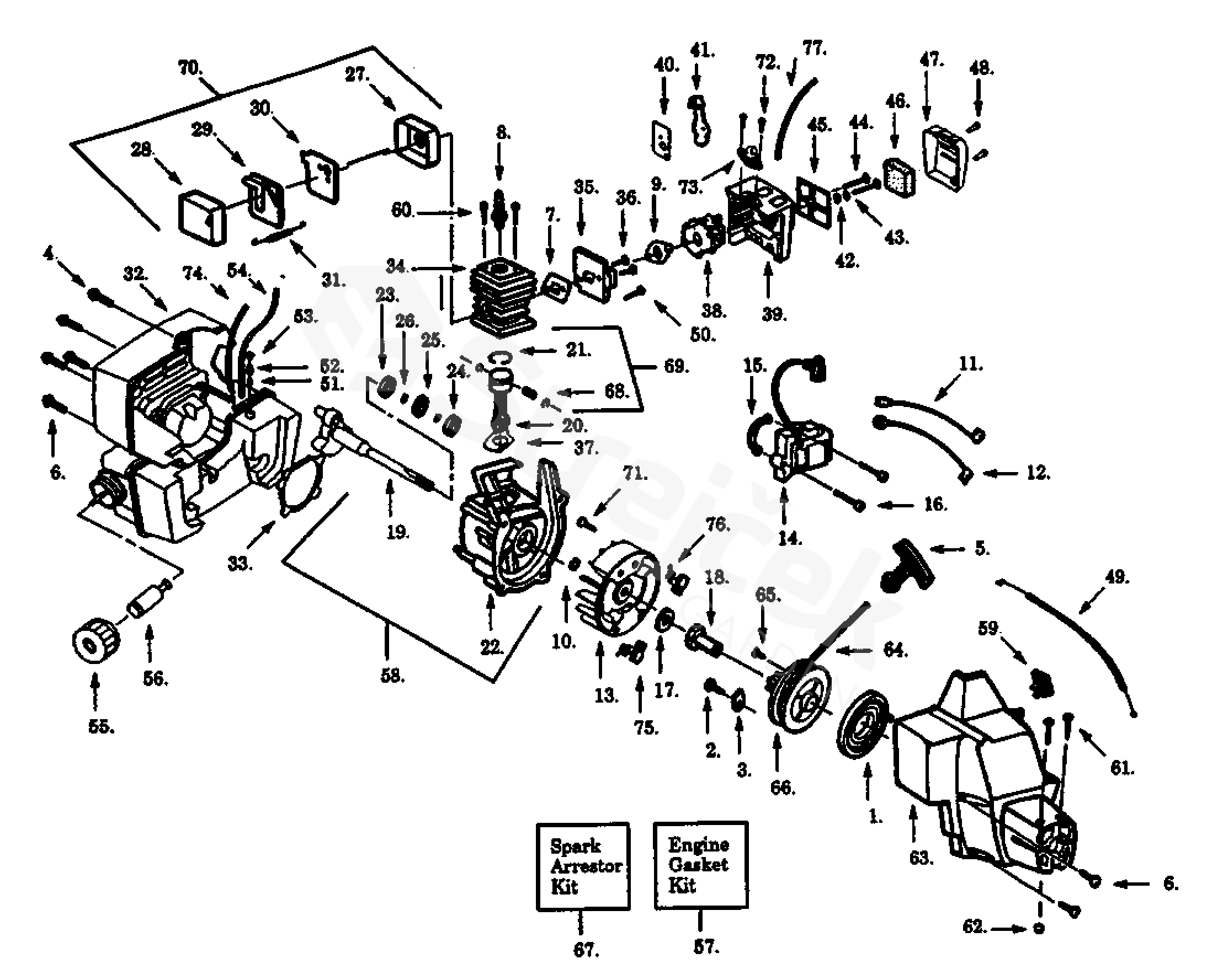
1
RECOIL SPRING
530029395
2
SCREW
530015775
3
RETAINER
530027523
4
SCREW
530015934
5
STARTER HANDLE
530027569
6
SCREW
530015810
7
GASKET
530019185
8
SPARK PLUG
530030075
9
GASKET
530019194
10
CLIP
530015945
11
CABLE
530014663
12
CABLE
530014662
13
FLYWHEEL
530039148
14
IGNITION MODULE
530039163
15
HOLDER
530036145
16
SCREW
530015954
17
PODLOŽKA Washer
530015828
18
COUPLING
530027953
19
CRANKSHAFT
530014532
20
CONNECTING ROD
530069615
21
PISTON RING
530036404
22
CRANKCASE
530014861
23
BEARING
530032125
24
BEARING
530032124
25
SEALING
530019179
26
CLIP
530015941
27
MUFFLER, BODY
530036578
28
MUFFLER,COVER
530036577
29
PARTITION
530038602
30
PARTITION
530036579
31
SPRING
530029930
32
SHROUD & TANK ASSEMBLY
530047325
33
GASKET
530019181
34
CYLINDER
530069619
35
ADAPTER
530069564
36
SCREW
530016014
37
GASKET
530019223
38
CARBURETTOR
530069647
39
AIR BOX
530038944
40
PLATE
530037326
41
CHOKE FLAP
530038102
42
SPRING
530015254
43
SPACER
530015852
44
SCREW
530015887
45
FILTER
530037413
46
AIR FILTER
530037331
47
COVER
530037292
48
SCREW
530015966
49
CABLE
530036744
50
SCREW
530015814
51
CHECK VALVE
530026119
52
FILTER
530029717
53
HOLDER
530029696
54
HOSE
530069571
55
TANK
530014347
56
FILTER
530014362
57
GASKET
530069625
58
CRANKCASE
530014729
59
SWITCH
530038114
60
SCREW
530015953
61
SCREW
530016072
62
NUT
530015768
63
GEH[USE
530069675
64
STARTER ROPE
530069232
65
SCREW
530016080
66
530066400
67
SPARK ARRESTOR
530069380
68
CIRCLIP
530015162
69
PISTON
530069621
70
MUFFLER
530069660
71
SCREW
530015882
72
SCREW
530016090
73
BULB
530037972
74
HOSE
530069247
75
PAWL
530029939
76
SPRING
530037730
77
KIT
530069216