EN
Your CART
Awaiting fulfillment

ks
Empty cart Order
Are you
sure
to empty your cart?
Yes, empty I don't want to
Spare parts
Everything for your machines
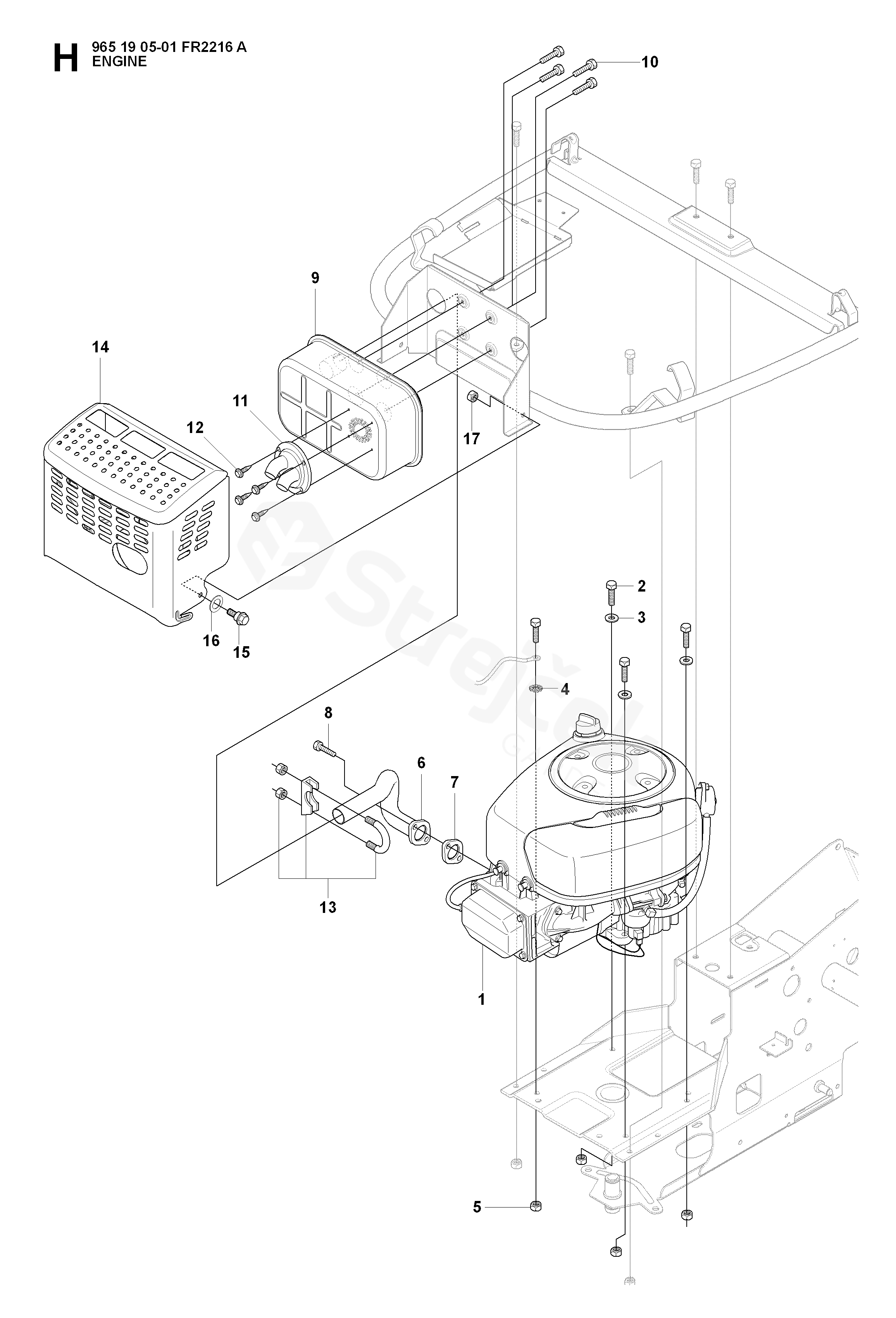
ENGINE
FR2216 A FR2216 A, 965190501, 2008-01
Hover mouse on parts list
Wheel: Zoom, left button: Movement
Other parts For FR2216 A, 965190501, 2008-01
1 ENGINE 544452801
2 SCREW 725245751
3 PODLOŽKA 734116401
4 LOCKWASHER 735216400
5 LOCK NUT 732211801
6 EXHAUST PIPE ASSY 535485202
7 GASKET 506914501
8 SCREW UNC 506556301
9 MUFFLER ASSY 535400801
10 SCREW EHHFT 725236861
11 DEFLECTOR 506827901
12 SCREW 506794501
13 CLAMP ASSY 506668401
14 HEAT PROTECTOR 535416201
15 SCREW EHHFM 506597401
16 PRUŽNÁ PODLOŽKA 506839401
17 LOCK NUT 732211801