We deliver to more than 25 countries
info@sgarden.cz
We focus especially on spare parts, just click!
Log in
/
Registration
Sign In
E-mail:
Password:
Stay logged in
Log in
Forgot your password?
I'm new here:
register
/
Log off
EN
€
CS
EN
€
Kč
Your
CART
Awaiting fulfillment
ks
Empty cart
Order
Are you
sure
to empty your cart?
Yes, empty
I don't want to
,
,
Spare parts
Everything for your machines
Spare parts
>
Poulan
>
TRACTORS/RIDE MOWERS
>
338014 338014, 2006-01
>
ELECTRICAL
Back to
338014
338014, 2006-01
ELECTRICAL
338014
338014, 2006-01
Hover mouse on parts list
Wheel:
Zoom, left button:
Movement
Other parts
For
338014, 2006-01
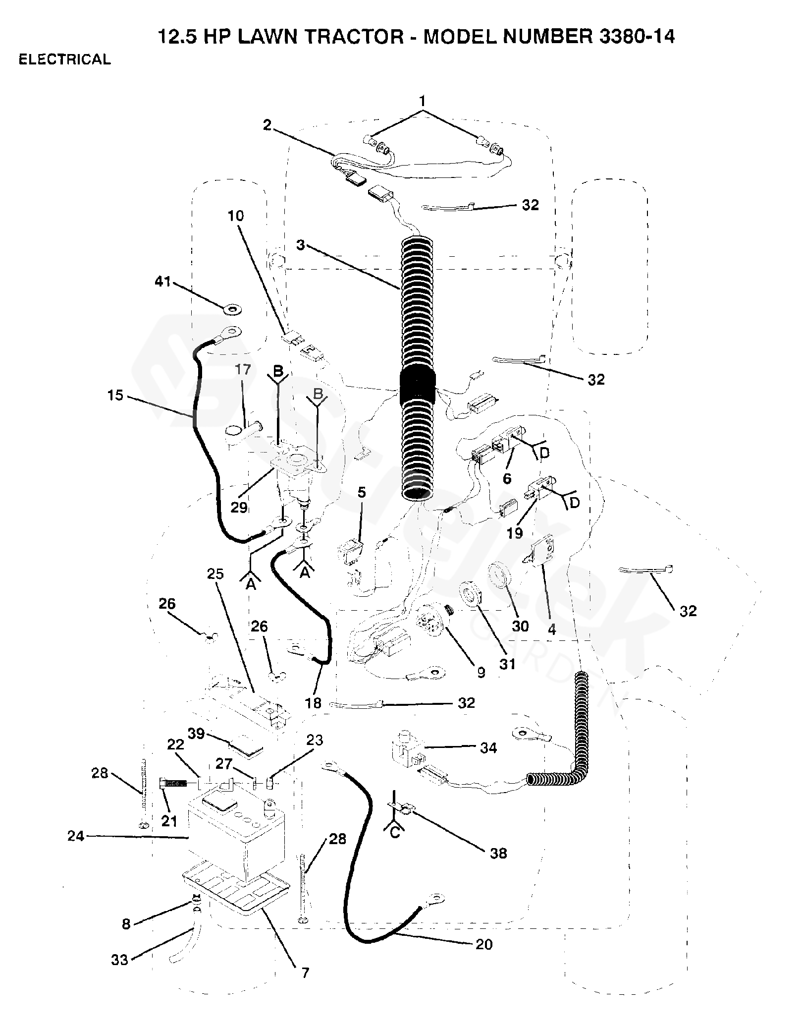
1
BULB
532007662
2
HARNESS
532110859
3
HARNESS
532124904
4
KEY
532122147
5
SWITCH
532110712
6
SWITCH
532104445
7
TRAY
532007603
8
CLAMP
532109596
10
FUSE
532006347
15
TIRE
532004607
18
CABLE
532005114
19
SWITCH
532109553
20
CABLE ASSY
532108423
21
BOLT
874760412
22
WASHER
819091016
23
NUT
873220400
24
BATTERY
532121265
25
PROTECTOR
532102476
26
WING NUT
532123198
27
WASHER
810040400
28
BOLT
872240460
29
SOLENOID LT10/36
532109081
30
BEZEL
532109787
31
NUT
532109788
32
HOOP
532007192
33
HOSE
532105687
34
SWITCH
532121305
38
CLIP
532004171
39
COVER
532121264
41
WASHER
811050400
SHEET INSTR LT
532101539