CZ
Váš KOŠÍK
čeká na naplnění

ks
Vysypat košík Objednat
Opravdu
chcete
aby zůstal prázdný?
Ano, vysypat Nechci
Náhradní díly
vše pro vaše stroje
PŘEVODOVKA
PARK COMFORT PARK COMFORT (2002)
Najeďte myší na rozkres
kolečko: přiblížení, levé tlačítko: pohyb
Další díly pro PARK COMFORT (2002)
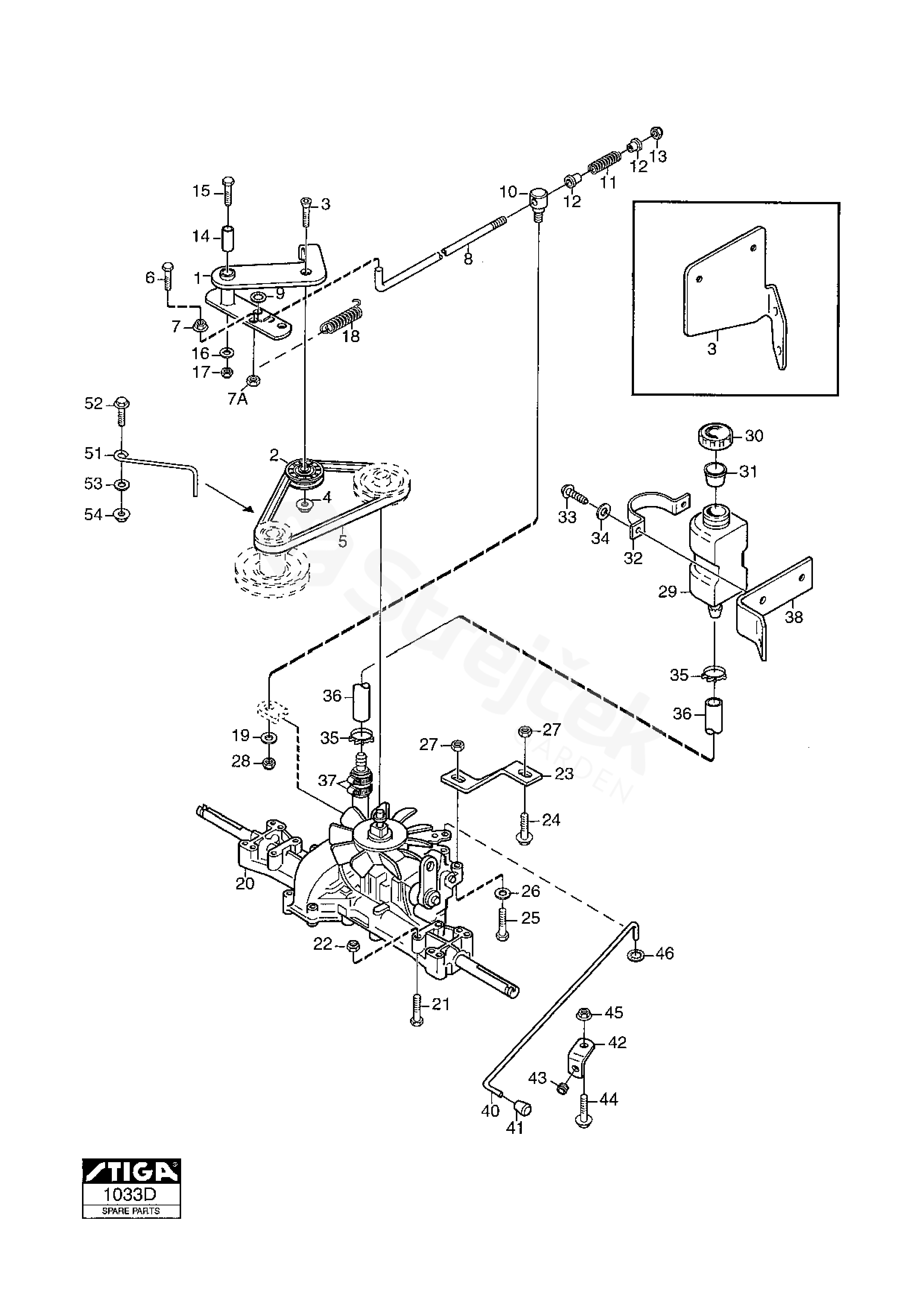
1 Tažné rameno 1134-4000-02
2 NAPÍNACÍ VÁLEČEK 1134-3459-01
3 ŠROUB 9924-1035-16
4 MATICE 9799-1031-02
5 V-ŘEMEN
= 9585-0091-01
1134-9058-01
6 ŠROUB 9997-0625-16
7 MATICE 9739-0631-22
8 CONTROL ROD 1134-3377-02
9 STARLOCK 9675-0008-02
10 VODÍCÍ ČEP 1134-4171-01
11 PRUŽINA 1134-4183-01
12 BUSHING 1134-3456-01
13 Matice 9747-0631-02
14 ROZPĚRKA 1134-1565-08
15 ŠROUB 9997-0870-16
16 PODLOŽKA 9699-0056-02
17 MATICE 9747-0831-02
18 PRUŽINA 1134-1949-01
19 PODLOŽKA 9699-0060-02
20 Transaxle (K46)
Kanzaki K46G
1134-4848-01
21 ŠROUB 9997-0865-12
22 MATICE 9747-0831-02
23 ROZPĚRA 1134-3913-01
24 ŠROUB 9959-0825-16
25 ŠROUB 9997-0845-12
26 PODLOŽKA 9699-0028-02
27 MATICE 9747-0831-02
28 Matice 9747-0631-02
29 OLEJOVÁ NÁDRŽ 1134-2765-02
30 Víčko plnicího plniče 1134-2777-02
31 Odvzdušňovací 1134-3734-01
32 Řemen 1134-2778-01
33 ŠROUB 9842-0001-16
34 PODLOŽKA 9699-0099-02
35 HADICOVÁ SVĚRKA
15 x 8
9578-0023-04
36 TRUBKA
L = 420 mm
1134-2779-01
37 HADICOVÁ SVĚRKA
27 x 8
9578-0023-03
38 PŘÍDAVNÉ ZAŘÍZENÍ 1134-4864-01
40 TAŽNÁ TYČ 1134-4015-01
41 KONFLÍK 1134-4014-01
42 ŠIKMÁ VZPĚRA 1134-4713-01
43 Ochrana kabelů 1134-2790-01
44 ŠROUB 9959-0816-16
45 MATICE 9739-0831-22
46 STARLOCK 9675-0009-02
51 VODÍTKO ŘEMENU 1134-3289-02
52 ŠROUB 9959-0820-16
53 PODLOŽKA 9699-0056-02
54 MATICE 9739-0831-22
7A Matice 9747-0631-02