Doručujeme do více než 25 zemí
info@sgarden.cz
Zaměřujeme se zvláště na náhradní díly, stačí kliknout
Přihlášení
/
Registrace
Přihlaste se
E-mail:
Heslo:
Zůstat přihlášen
Přihlásit se
Zapomenuté heslo?
Jsem tu nový:
registrovat
/
Odhlášení
CZ
€
CS
EN
€
Kč
Váš
KOŠÍK
čeká na naplnění
ks
Vysypat košík
Objednat
Opravdu
chcete
aby zůstal prázdný?
Ano, vysypat
Nechci
,
,
Náhradní díly
vše pro vaše stroje
Náhradní díly
>
Husqvarna
>
Sekačky na trávu
>
WH3615 WH3615E, 968999237, 2005-08
>
MOTOR
zpět na
WH3615
WH3615E, 968999237, 2005-08
MOTOR
WH3615
WH3615E, 968999237, 2005-08
Najeďte myší na rozkres
kolečko:
přiblížení, levé tlačítko:
pohyb
Další díly
pro
WH3615E, 968999237, 2005-08
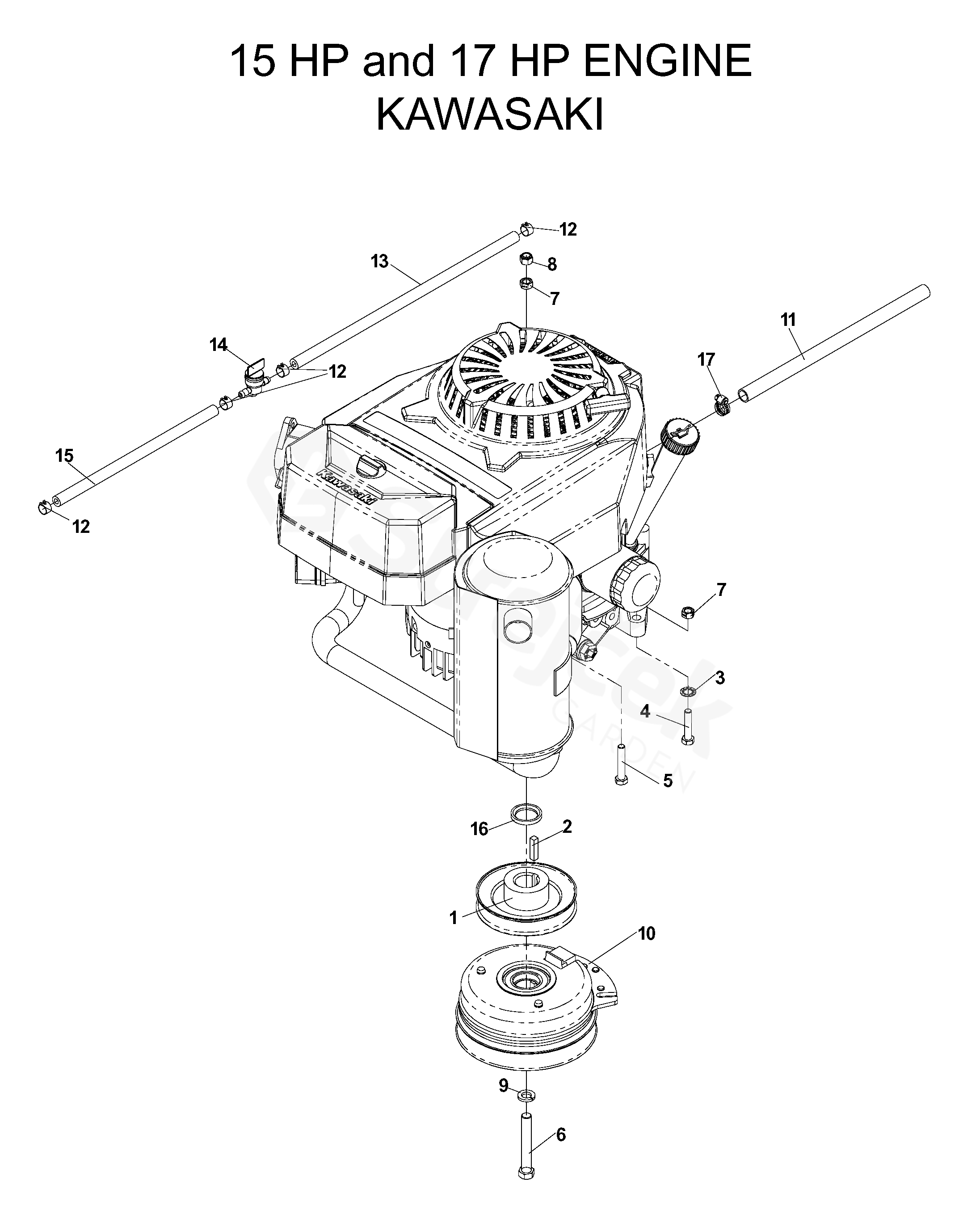
1
ŘEMENICE
539109639
2
KLÁVESA
539101995
3
PODLOŽKA
539108266
4
CAPSCREW
539976935
5
ŠROUB
539990669
6
HEX SCREW 7/16-20 X 3
539923388
7
MATICE
539990184
8
MATICE
539990717
9
PODLOŽKA
539990247
10
SPOJKA
539109245
11
HADICE
539107937
12
SVORKA
539912222
13
GAS LINE - 14"
539104993
14
FUEL VALVE
539916325
15
GAS LINE 10"
539932956
16
ROZPĚRKA
539109759
17
SVORKA
539976966
539105637
CLUTCH HARNESS
539105637