Doručujeme do více než 25 zemí
info@sgarden.cz
Zaměřujeme se zvláště na náhradní díly, stačí kliknout
Přihlášení
/
Registrace
Přihlaste se
E-mail:
Heslo:
Zůstat přihlášen
Přihlásit se
Zapomenuté heslo?
Jsem tu nový:
registrovat
/
Odhlášení
CZ
€
CS
EN
€
Kč
Váš
KOŠÍK
čeká na naplnění
ks
Vysypat košík
Objednat
Opravdu
chcete
aby zůstal prázdný?
Ano, vysypat
Nechci
,
,
Náhradní díly
vše pro vaše stroje
Náhradní díly
>
Husqvarna
>
Zahradní traktory
>
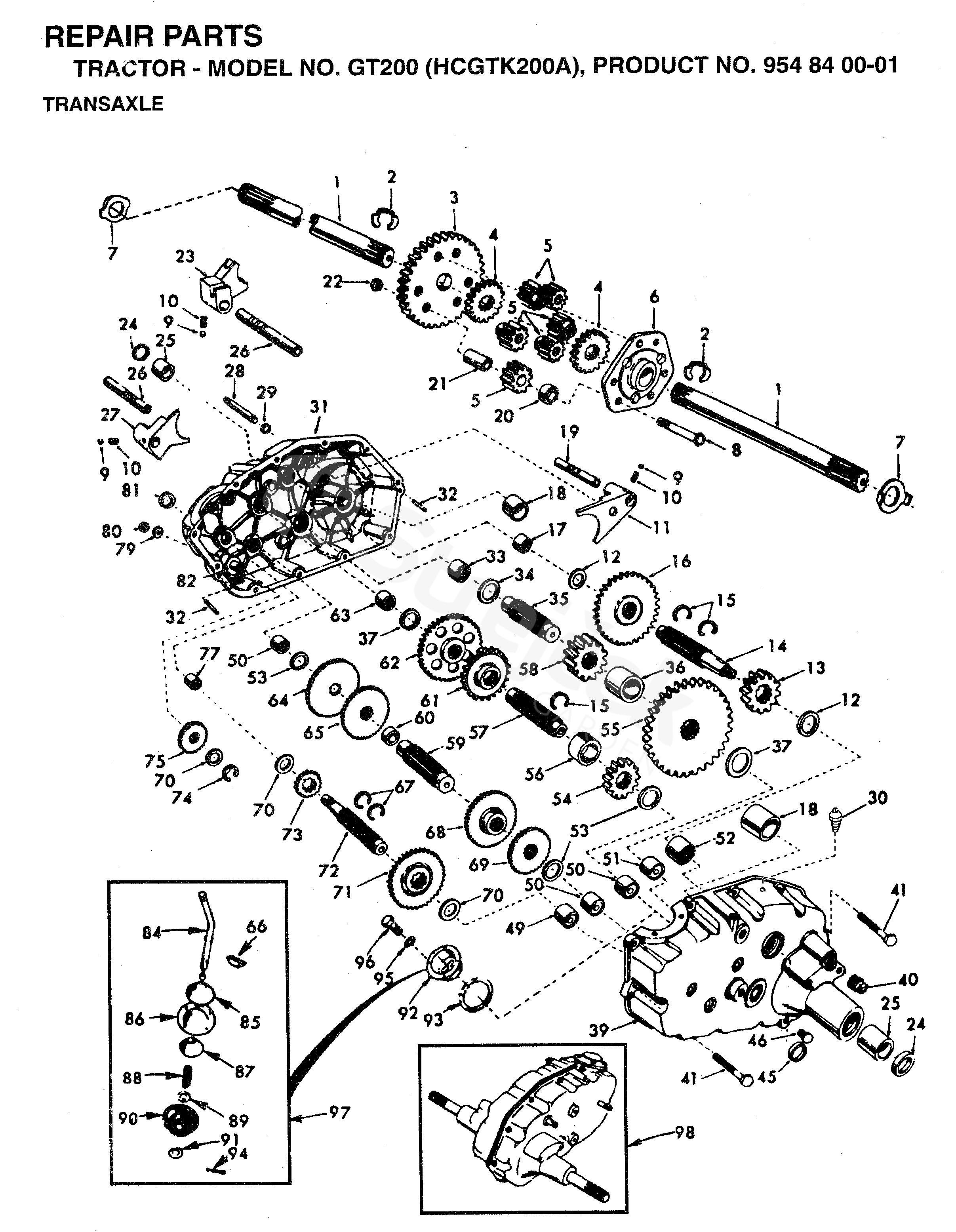
GT200 GT200, HCGTK200A, 954840001, 1996-01
>
PŘEVODY
zpět na
GT200
GT200, HCGTK200A, 954840001, 1996-01
PŘEVODY
GT200
GT200, HCGTK200A, 954840001, 1996-01
Najeďte myší na rozkres
kolečko:
přiblížení, levé tlačítko:
pohyb
Další díly
pro
GT200, HCGTK200A, 954840001, 1996-01
1
AXLE SHAFT T
532124662
2
RETAINING RING
812000034
3
FINAL GEAR T
532004199
4
DIFF GEAR T
532004216
5
DIFF PINION T
532004215
6
DIFF CARRIER T
532004217
7
PODLOŽKA
532124674
8
ŠROUB
874020652
9
STEEL BALL
532124697
10
PRUŽINA
532137261
11
SHIFT FORK T
532004985
12
PODLOŽKA
532124931
13
RED PINION T
532124667
14
GEAR SHAFT
532137125
15
POJISTNÝ KROUŽEK
532124677
16
OZUBENÉ SOUKOLÍ
532124679
17
LOŽISKO
532008118
18
LOŽISKO
532124705
19
HRÍDEL
532122238
20
ROZPĚRKA
532004218
21
PINION
532124673
22
MATICE
532124701
23
VIDLICE
532006262
24
TĚSNĚNÍ
532124698
25
BRNG. T
532124709
26
HRÍDEL
532139111
27
SHIFT FORK T
532004986
28
SHIFT SHAFT
532122254
29
TĚSNĚNÍ
532006269
30
VENTIL
532005855
31
GEARCASE
532139538
32
PIN T
532006277
33
NEEDLE BRNG T
532004225
34
RACE T NLA
532007396
35
GEAR SHAFT T
532004198
36
GEAR SPACER T
532124663
37
RACE T NLA
532007395
39
GEARCASE LH
532139536
40
PLUG PIPE
813320400
41
ŠROUB
817580520
45
JOINT D'ETANCHEITE T 6271H
532006271
46
PIPE PLUG
813060200
49
LOŽISKO
532124792
50
NEEDLE BRNG T
532004222
51
NEEDLE BRNG T
532001529
52
BEARING STD
532008119
53
PODLOŽKA
532004220
54
RED PINION T
532004209
55
RED GEAR T
532124668
56
PINION SPACER T
532004442
57
GEAR SHAFT T
532004195
58
FINAL PINION T
532004214
59
GEAR SHAFT T
532004194
60
ROZPĚRKA
532007528
61
RED PINION T
532124666
62
RED GEAR T
532124665
63
RACE T NLA
532007398
64
LOW SPEED GEAR T
532124664
65
PASTOREK
532004204
66
KLÁVESA
532002898
67
POJISTNÝ KROUŽEK
812000033
68
ENGRENAGE DE VITESSE INTERMED
532004205
69
LANKO
532125099
70
PODLOŽKA
532001370
71
CLUSTER GEAR T
532124681
72
HRÍDEL
532139120
73
PASTOREK
532004201
74
SVORKA
812000008
75
PASTOREK
532001153
77
LOŽISKO
532006803
79
SPOJ
532001167
80
MATICE
873360700
81
TĚSNĚNÍ
532124675
82
HRÍDEL
532136984
84
GEAR SHIFT LVR T
532005384
85
CAP
532002978
86
COVER
532124682
87
VODÍTKO
532124704
88
SPRING TI
532004924
89
PODLOŽKA
819151516
90
TĚSNĚNÍ
532110542
91
PODLOŽKA
819181511
92
GEAR SHIFT GATE T
532000075
93
GARNITURE T 6274H
532006274
94
ZÁVLAČKA
876020412
95
PODLOŽKA
810040500
96
ŠROUB
874760514
97
GEAR SHFT LVR T
532124863
98
HRÍDEL
532140332