CZ
Váš KOŠÍK
čeká na naplnění

ks
Vysypat košík Objednat
Opravdu
chcete
aby zůstal prázdný?
Ano, vysypat Nechci
Náhradní díly
vše pro vaše stroje
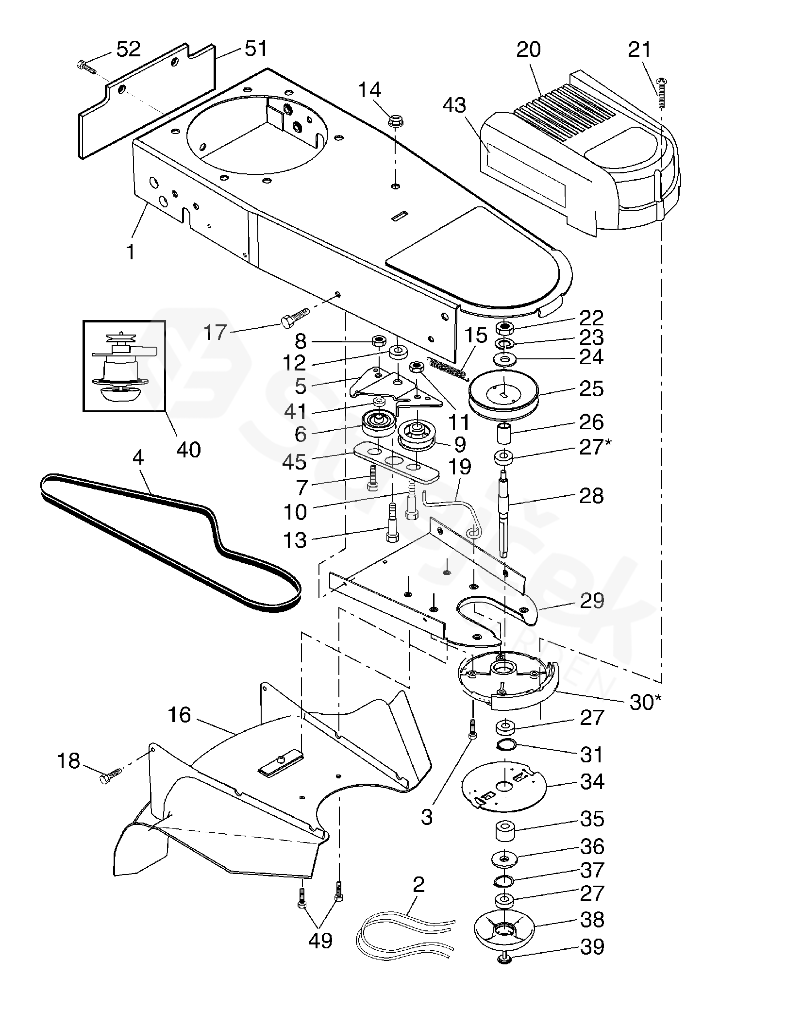
NÁHON
WT6000 WT6000, 96176000100, 2006-01
Najeďte myší na rozkres
kolečko: přiblížení, levé tlačítko: pohyb
Další díly pro WT6000, 96176000100, 2006-01
2 VYŽÍNACÍ STRUNA
182133
532182133
3 ŠROUB 532173715
4 V-ŘEMEN
185476
532185476
5 BRKT.IDLER
172145X004
172145X004
6 ŘEMENICE 532166042
7 ŠROUB
173716
532173716
8 LOCKNUT 3/8-16 RL508A/B 532751592
9 ŘEMENICE
166043
532166043
10 ŠROUB 532160829
11 LOCKNUT 5/16-18 532155552
12 ROZPĚRKA
173717
532173717
13 ŠROUB 532174719
14 MATICE 532145212
15 PRUŽINA
173811
532173811
16 DEFL ECTOR, BOTTOM
180268
532180268
17 ŠROUB 532057808
18 ŠROUB
178848
532178848
19 BELT KEEPER
187336
532187336
20 COVER
178390
532178390
21 ŠROUB 532149746
22 MATICE 532062336
23 PODLOŽKA 810040600
24 PODLOŽKA 819131316
25 ŘEMENICE
180340
532180340
26 ROZPĚRKA
172551
532172551
27 LOŽISKO
174549
532174549
28 HRÍDEL 172603
172603
532172603
29 CHASSIS.CVF
169766X479
169766X479
30 SPINDLE HOUSING ASSEMBL
"174543, (zahrnuje horní ložisko)"
532174543
31 RETAINING RING
174581
532174581
34 DESKA 173531
173531
532173531
35 ROZPĚRKA 172635
172635
532172635
36 COVER
172516
532172516
37 RETAINING RING
174580
532174580
38 VÍČKO
182217
532182217
39 ŠROUB
180334
532180334
40 STRUNOVÁ HLAVA 173619
173619
532173619
41 ROZPĚRKA
174029
532174029
43 NÁLEPKA
174036
532174036
45 BRKT.BELT.
174596X479
174596X479
49 ŠROUB 817060408
51 DEFL ECTOR, REAR
189006
532189006
52 ŠROUB
178848
532178848