We deliver to more than 25 countries
info@sgarden.cz
We focus especially on spare parts, just click!
Log in
/
Registration
Sign In
E-mail:
Password:
Stay logged in
Log in
Forgot your password?
I'm new here:
register
/
Log off
EN
€
CS
EN
€
Kč
Your
CART
Awaiting fulfillment
ks
Empty cart
Order
Are you
sure
to empty your cart?
Yes, empty
I don't want to
,
,
Spare parts
Everything for your machines
Spare parts
>
ST S p A
>
Lawn Tractor
>
PG72HB PG72HB (2018)
>
Electrical Parts
Back to
PG72HB
PG72HB (2018)
Electrical Parts
PG72HB
PG72HB (2018)
Hover mouse on parts list
Wheel:
Zoom, left button:
Movement
Other parts
For
PG72HB (2018)
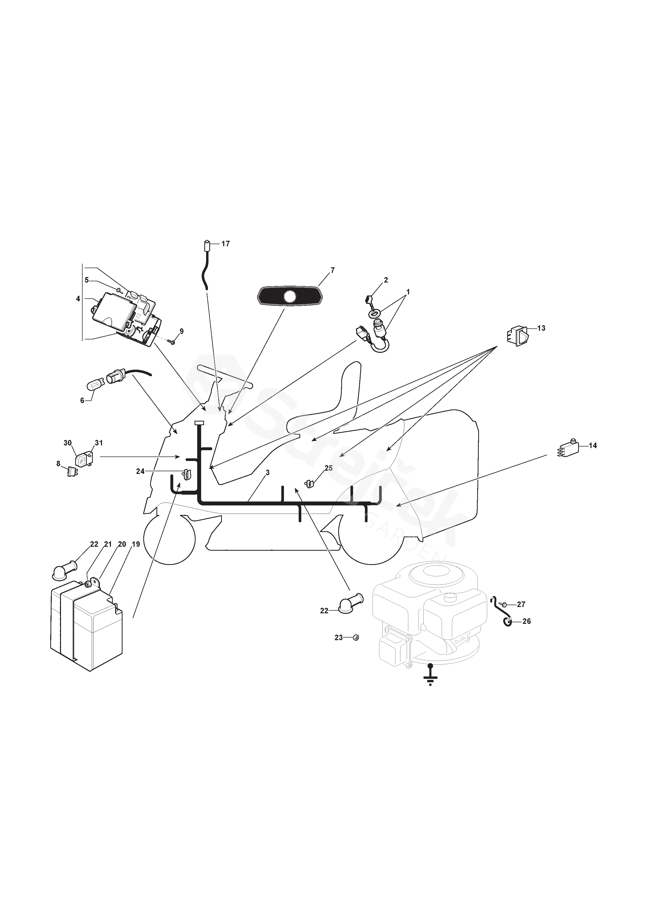
1
Starting Switch
118450075/1
2
Starting Key
118210023/0
3
Cables Ass.Y
184040137/2
4
Electronic Card
384722487/0
5
Screw
112735105/0
6
Lamp For Lights
118459100/0
7
Check Control
125420022/0
8
Fuse 10 A
133340040/0
9
Screw
112735406/0
13
Microswitch
119410622/1
14
Microswitch
119410605/1
17
Card Allarm Signal Cable
125065014/1
19
Battery
118120007/0
20
Clamp
327772099/1
21
Nut
112155000/0
22
Protection
118564861/2
23
Nut
112361005/0
24
Fairlead
133320506/0
25
Fairlead
133320504/0
26
Spring
127430561/0
27
Screw
112735121/0
30
Cover
133215000/0
31
Fuse carrier
133500007/0