We deliver to more than 25 countries
info@sgarden.cz
We focus especially on spare parts, just click!
Log in
/
Registration
Sign In
E-mail:
Password:
Stay logged in
Log in
Forgot your password?
I'm new here:
register
/
Log off
EN
€
CS
EN
€
Kč
Your
CART
Awaiting fulfillment
ks
Empty cart
Order
Are you
sure
to empty your cart?
Yes, empty
I don't want to
,
,
Spare parts
Everything for your machines
Spare parts
>
Poulan
>
TRACTORS/RIDE MOWERS
>
YE12542B YE12542B, 1999-01
>
ENGINE
Back to
YE12542B
YE12542B, 1999-01
ENGINE
YE12542B
YE12542B, 1999-01
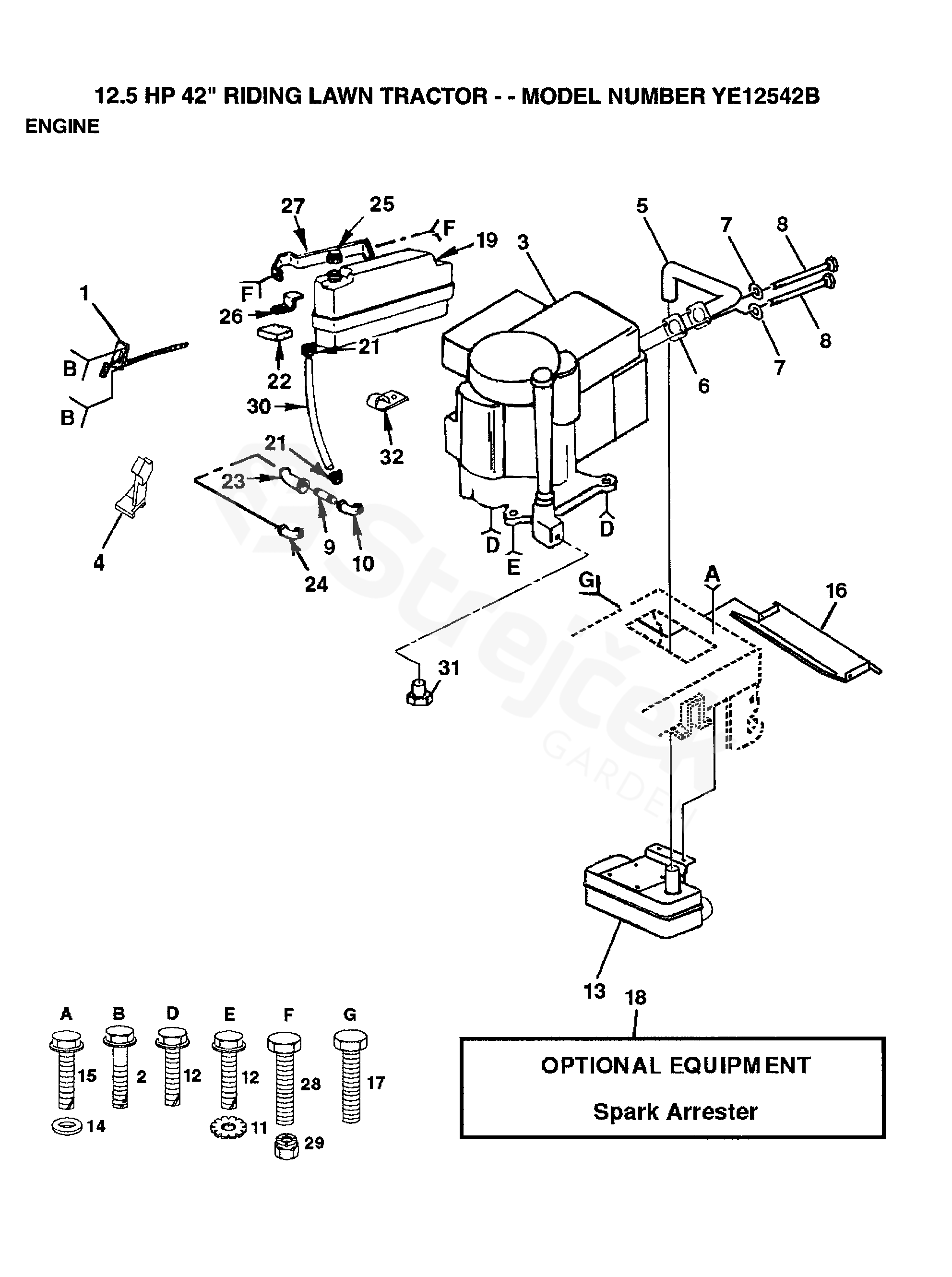
Hover mouse on parts list
Wheel:
Zoom, left button:
Movement
Other parts
For
YE12542B, 1999-01
1
CDE DE GAZ REMPL PAR 532134372
532134372
2
ROD Hinge
817720410
4
MOVEMENT LIMITER
532133097
5
PIPE
532123073
6
GASKET
532125593
7
PODLOŽKA
810040500
8
SCREW
871070510
9
PIPENIPPLE
813280328
10
STREET ELBOW
813310300
11
PODLOŽKA
811050600
12
SCREW
817490620
13
MUFFLER
532123075
14
WASHER
532061537
15
SCREW
817490512
16
MUFFLER COVER
532128953
17
SCREW
817021008
18
SPARK ARRESTOR
532121851
19
TANK
532121280
21
HADICOVÁ SVĚRKA
532123487
22
SPACER
532006431
23
DRAIN PLUG
813240300
24
ELBOW
813200300
25
TANK CAP
532008504
26
CLAMP
532104799
27
SUPPORT
532121281
28
SCREW
874780512
29
MATICE
873680500
30
HOSE
532007833
32
CLIP
532002751