We deliver to more than 25 countries
info@sgarden.cz
We focus especially on spare parts, just click!
Log in
/
Registration
Sign In
E-mail:
Password:
Stay logged in
Log in
Forgot your password?
I'm new here:
register
/
Log off
EN
€
CS
EN
€
Kč
Your
CART
Awaiting fulfillment
ks
Empty cart
Order
Are you
sure
to empty your cart?
Yes, empty
I don't want to
,
,
Spare parts
Everything for your machines
Spare parts
>
Husqvarna Construction Products
>
DEMOLITION ROBOTS
>
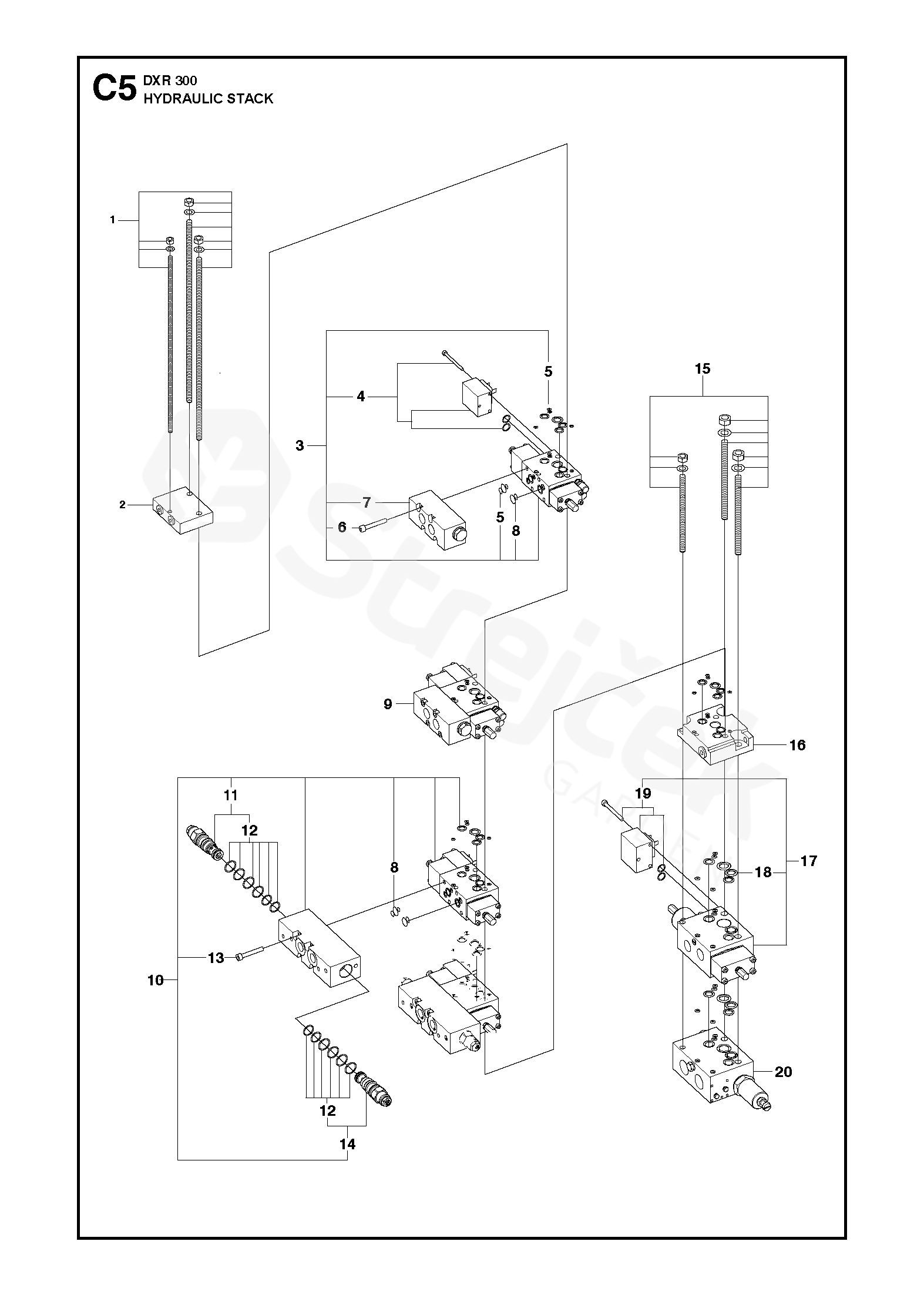
DXR300 DXR300, Valid for machine 1 and forward, 2013-08
>
HYDRAULIC STACK
Back to
DXR300
DXR300, Valid for machine 1 and forward, 2013-08
HYDRAULIC STACK
DXR300
DXR300, Valid for machine 1 and forward, 2013-08
Hover mouse on parts list
Wheel:
Zoom, left button:
Movement
Other parts
For
DXR300, Valid for machine 1 and forward, 2013-08
1
TAP
Extra hydraul function 2 (6 sections)
523062401
2
VALVE
522800401
3
VALVE
C4
522800101
4
SOLENOID
522961301
5
O-RING
522961401
6
SCREW IHSCM
725537851
7
VALVE
522962501
8
O-RING
522961601
9
VALVE
C3
522800001
10
VALVE
C1, C2
522799901
11
VALVE
522962201
12
O-RING
522962401
13
SCREW IHSCM
725538051
14
VALVE
522962301
15
TAP
522963301
16
VALVE
522799801
17
VALVE
Tool
522799701
18
O-RING
522961901
19
SOLENOID
522961801
20
VALVE
522799501